K energetické politice pro nadcházející léta
Created by Tomas Kalisz
Tato OrgPage se snaží co nejvíce znázornit a zpřehlednit technické, ekonomické, společensko-psychologické, vzdělávací a politické aspekty, které se nevyhnutelně prolínají při jakémkoliv pokusu přijít na to, jak by měla vypadat energetickí koncepce České republiky a jaké další kroky by z ní v těchto oblastech měly vzejít k tomu, abychom obstáli ve výzvách 21. století.
#Energiewende, #hospodářství, #obnovitelné zdroje energie, #palivový článek, #politika , #power-fluid-power, #power-to-fuel, #rozvodná soustava, #rozvoj, #sodík, #ukládání elektřiny, #voda, #znečištění

Spalování fosilních paliv s ukládáním CO2
plyn na vytápění
jaderné elektrárny
jaderné teplárny
"Modrý vodík" ze zemního plynu, s ukládáním CO2
jaderné elektrárny
Sythetický methan z CO2 a "zeleného" vodíku
Spalováním vzniklý oxid uhličitý přitom budem používat zase zpátky k výrobě methanu.
Potřebná technologie je známá jako Sabatierův proces.
kombi1: jádro+plyn
jaderná varianta
Power-to-gas (P2G)
Tohle byl druhý krok poté, co skeptici vznesli své námitky proti nevýhodám vodíku: Tož předělejme vodík v uhlovodík - a nejjednodušší uhlovodík je methan, který je základem zemního plynu.
Umělý plyn budeme dál používat jak jsme zvyklí - tedy spalovat - místo toho přírodního.
Vyprávění páté: technika
přechod na zemní plyn
Přechod na OZE přes power-to-fuel
Tato myšlenka říká: vezměme přebytečnou elektřinu z OZE v době, kdy je jí nadbytek, a změňme ji v něco, čím jde topit.
Její úskalí moc hezky vystihuje německá stránka z Wikipedie:
"Negativ ist jedoch der niedrige Gesamtwirkungsgrad, der weitaus geringer ist als die direkte Elektrifizierung über Elektroautos. So benötigen beispielsweise wasserstoffbetriebene Brennstoffzellenfahrzeuge mehr als doppelt so viel Energie pro km wie Elektroautos, mit Power-to-Liquid-Treibstoffen betriebene Autos mit Verbrennungsmotor sogar mehr als sechsmal so viel Energie. Aufgrund dieser Eigenschaften empfiehlt der Sachverständigenrat für Umweltfragen, den Einsatz von strombasierten synthetischen Brennstoffen vor allem auf den Flug- und Schiffsverkehr zu beschränken, um den Stromverbrauch nicht zu sehr ansteigen zu lassen.[4]
Wichtig ist zudem, dass sich positive Effekte für Umwelt und Klima nur dann einstellen, wenn ausschließlich elektrische Energie aus erneuerbaren Energien genutzt wird. Würde hingegen Braunkohlestrom für die Gasherstellung genutzt werden so lägen die Kohlendioxid-Emissionen eines so angetriebenen Gasautos um etwa Faktor 6 höher als bei einem Auto, das fossilen Dieselkraftstoff nutzt.[5] "
"Zelený vodík" určený ke spalování
"Zelený" sodík určený ke spalování
Modely transformace podle technických řešení
Kroky provázené přeměnou chemické energie na teplo
Problém je, že sebejednodušší chemickou přeměnou, kterou se pokusím "zelený" vodík získaný s použitím energie z OZE přeměnit na něco snáze skladovatelného anebo přepravitelného, ztratím docela značnou část uložené energie její přeměnou v teplo, což je nejhůře využitelná a tudíž ekonomicky méněcenná forma energie.
Amoniak ze "zeleného" vodíku, pro spalování
Kapalná syntetická paliva z CO2 a zeleného vodíku
Rozvoj využití OZE a jejich zabudovávání do infrastruktury k tomuto určitě nabízejí příležitost
Přechod na OZE přes power-fluid-power
"Zelený vodík" pro palivové články
Účinnost přes 50 % stěží dosažitelná
Ke konkurenceschopnosti OZE s elektřinou z fosilu:
Předpoklad nutnosti dotací do roku 2050
pozor na bombastické plány založené na gigantických dlouhodobých subvencích
i s cestou, jak ji těmi malými kroky rozumně uskutečnit
Nesplnění mezinárodních závazků
hledejme co nejvíc cest, kde mohou přispívat a rozhodovat regiony, obce a jednotlivci
Jen elektrochemické přeměny
"zelený amoniak" pro palivové články
Potřeba (odhadem) snížit cenu primární OZE elektřiny nejméně třikrát
Nepotřebujeme "zachránit klima, i kdyby neměl zůstat kámen na kameni"..
power-liquid-power
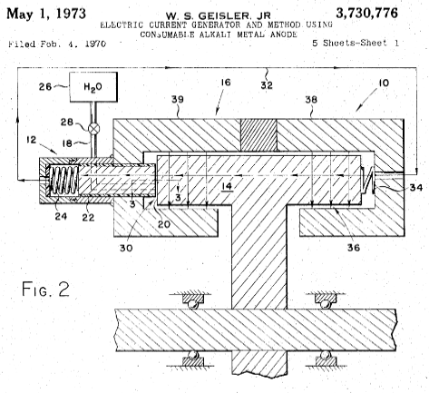
Například zadali pokusné ověření funkčnosti Geislerova patentu US 3 730 776
které lze podniknout bez prodlení a rychle dají orientaci, jak postupovat dál
Nebo naopak náhradu všech uhelných velkoelektráren OZE do roku 2030
Nulová varianta: jedeme dál beze změny
Vysoká účinnost možná
Nevýhoda: nízká hustota
Drahá přeprava a/nebo skladování
velkokapacitního účinného ukládání elektřiny
zhoršení
Ekonomika jednotlivých modelů (ne)transformace
"Zelený" sodík pro palivové články
Ke konkurenceschopnosti OZE s elektřinou z "fosilu":
technicky v plenkách
Řešit vývoj účinného katalyzátoru
Vědecký problém
Nebo třeba obojí - podle toho, co se ukáže nejlepší z hlediska poměru cena/výsledek
Neodhadnutelná doba řešení
Aby dělali místo toho malé praktické kroky
Aby vyslovili odvážnou, ale reálnou vizi
Za pomoci
spolupráce se sousedními zeměmi
rozsah zapojení do mezinárodní spolupráce
postavení a přestiž republiky ve světě
Fundovanost a kritičnost sdělovacích prostředků
Možné ekonomické ztráty
Kolik by vlastně přechod na "uhlíkovou neutralitu" měl stát?
Krok přeměny sodíku v elektřinu kritický
Vyprávění čtvrté: ekonomický aspekt
Možnost úplné náhrady jaderné a fosilní elektřiny do patnácti let
Aby zastavili nesmyslné přípravy na stavbu další jaderné elektrárny
..takže nesmíme sednout na vějičku všem možným lobbistům ..
Potřeba (odhadem) snížit cenu primární OZE elektřiny méně než dvakrát
budování "chytrých sítí"
zahraničně-politická orientace země
vytváření a nastavování pravidel fungování
veřejnosti
Možné ekonomické přínosy
technicky v plenkách
Vyprávění třetí: Společensko-politické vlivy
Řešit rychlé proudění velmi tenkých vrstev kapaliny + zvětšování měřítka
Pište svým politikům maily a chtějte po nich
aby, pokud vám nechtějí vyhovět, uměli zdůvodnit, proč
Inženýrský problém
Podle analogií (projekt Manhattan, program Apollo) může stačit několik let
Vyprávění šesté: Co si s tím počít? Mohu já osobně nějak přispět?
a dát velké peníze do čehokoliv, co ve skutečnosti zablokuje cestu dál
ustřelit si obě nohy je bohužel snadné
Vyžaduje profesionálního mechanika
politické reprezentace
Nutné ekonomické náklady
třebas náhradu všech uhelných tepláren OZE
ať už to je jaderná elektrárna..
hodnotový systém
státní správy
Kvalifikovanost
informovanost
Vyprávění druhé: relativita pohledu
Postavit a otestovat zařízení popsaná v patentu
Těžko chtít, aby to někdo místo své práce dělal ze svatého nadšení
Chce to peníze
A taky veřejné zadání
kvalita
společenská přijatelnost
Opravdu US 3 730 776 funguje?
Odkaz na fulltext Geislerova patentu (přihláška 4. 2. 1970) ve veřejně přístupné databázi Espacenet spravované Evropským patentovým úřadem.

Chtělo by to vyzkoušet!
Pokusit se o modelový pokus v laboratoři
morálka
politická vůle
Záleží na všech ostatních úhlech pohledu
"modrá" kritéria nejsou absolutní
Třeba rozptýlenost sluneční a větrné energie, která znamená, že zdroje o velkém výkonu nutně musí zabrat značnou plochu, přestane být nevýhodou, pokud je do krajiny dokážeme šikovně integrovat.
A stane se dokonce výhodou ve chvíli, kdy jde o pokrytí podobně geograficky rozptýlené a decentralizované drobné spotřeby.
Nová technika změní nevýhodu ve výhodu
.. nebo umělá podpora "power to gas"
společenská shoda
porozumění souvislostem
Dostupné technické prostředky
power-liquid-power by mohlo být hledané řešení
rotační disková elektroda se používá při elektrochemických studiích
vzdělání
vodní energie
Vyprávění prvé: přírodní podmínky ČR
geotermální energie
Ale: Přímá přeměna zpět na "power" (elektřinu) je zatím popsána v jediném dokumentu!
Geislerovo zařízení by snad šlo s jejím použitím zbastlit "na koleně"

Na obrázku 1 je schema navrženého pokusu.
Rotující elektroda 001 zasahuje shora do nádobky 010, v jejímž dně je utěsněno zařízení 002 pro dodávku sodíku a elektrolytu.
Toto zařízení je podrobněji znázorněno na obrázku 2.
Do obvodové tubičky 005 zasahuje píst 007. Vrtáním ve středu pístu prochází trubička pro přívod elektrolytu 006, spojení navlékací hadičkou 003 se zdrojem elektrolytu (rezervoár nebo případně čerpadlo) 004. Sodík 020 se do válce s povytaženým pístem vpraví nejlépe v roztavené formě a ponechá se ztuhnout.
Podle možností zhotovitele může být píst 007 a vnější trubička 005 např. z polyethylenu nebo polypropylenu, pak vnitřní trubička 006 musí být kovová a pod pístem spojená elektrickým kontaktem s rotující elektrodou.
Lepší provedení vnitřní trubičky by bylo kovová s plastovým ústím, aby nehrozilo poškození rotující diskovvé elektrody při případném kontaktu s trubičkou. Pokud by píst byl z kovu, může být celá vnitřní trubička plastová a elektrický kontakt připojen k pístu.
Vyčerpané (skoro)
sluneční energie
"biomasa"
"Zelený" sodík zatím splňuje požadavky na "liquid" nejlépe
Dostupná kapacita v ČR
Dosud dostupné
energie větru
Obnovitelné zdroje energie
nevýhody
rozptýlenost
(potenciální) výhoda
A naráz se může hodit to, co se předtím nehodilo
Sezónnost
Nestálost